経済産業省
法人プロフィール
【法人基本情報】
法人基本情報(3情報)
法人番号 2130005012942
法人名 農事組合法人妙楽ファーム
法人名ふりがな みょうらくふぁーむ
法人名英語
本店所在地 京都府船井郡京丹波町妙楽寺沖田14番地3
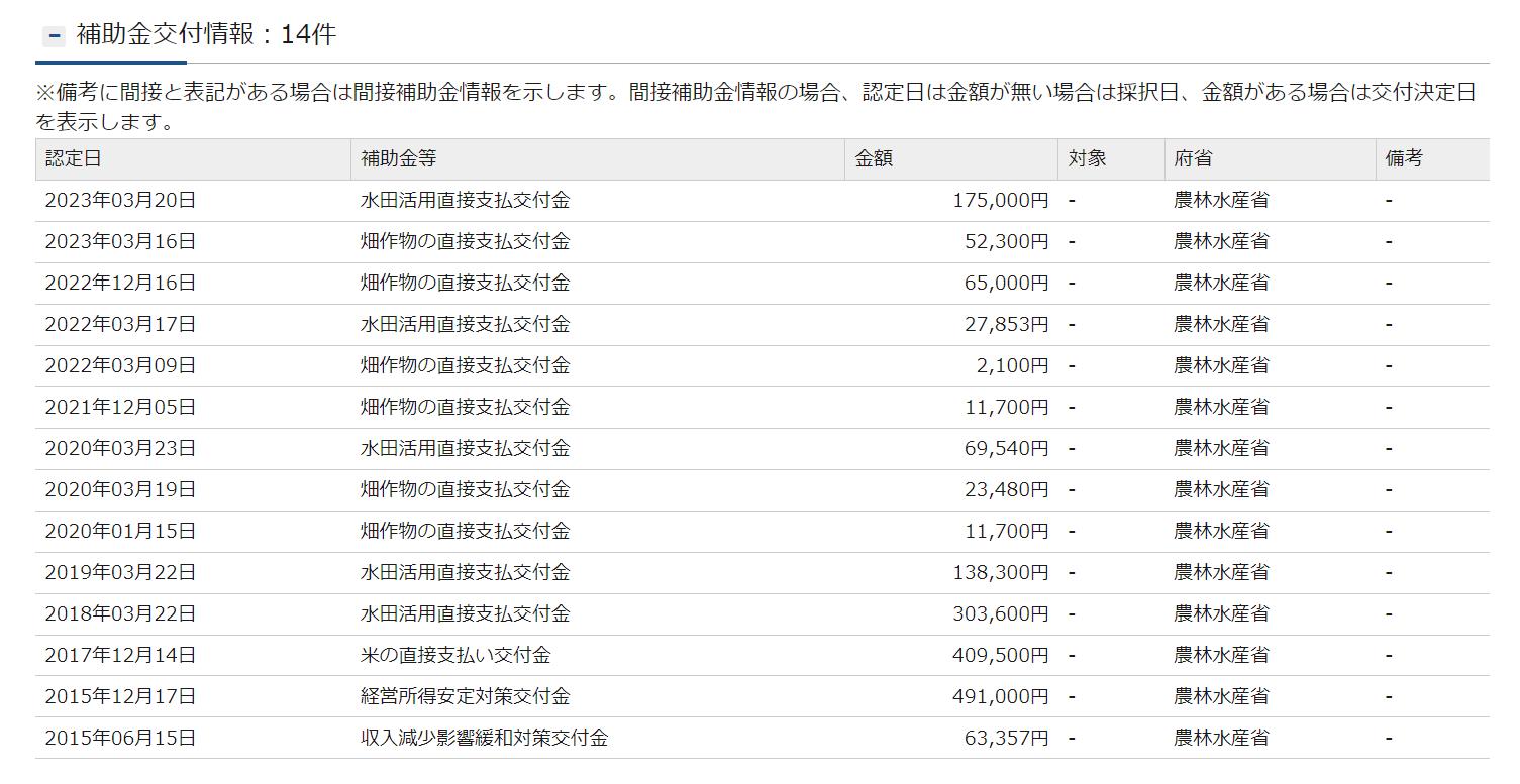
補助金交付情報:14件
認定日 2023年03月20日
補助金等 水田活用直接支払交付金
金額 175,000円
府省 農林水産省
認定日 2023年03月16日
補助金等 畑作物の直接支払交付金
金額 52,300円
府省 農林水産省
認定日 2022年12月16日
補助金等 畑作物の直接支払交付金
金額 65,000円
府省 農林水産省
認定日 2022年03月17日
補助金等 水田活用直接支払交付金
金額 27,853円
府省 農林水産省
認定日 2022年03月09日
補助金等 畑作物の直接支払交付金
金額 2,100円
府省 農林水産省
認定日 2021年12月05日
補助金等 畑作物の直接支払交付金
金額 11,700円
府省 農林水産省
認定日 2020年03月23日
補助金等 水田活用直接支払交付金
金額 69,540円
府省 農林水産省
認定日 2020年03月19日
補助金等 畑作物の直接支払交付金
金額 23,480円
府省 農林水産省
認定日 2020年01月15日
補助金等 畑作物の直接支払交付金
金額 11,700円
府省 農林水産省
認定日 2019年03月22日
補助金等 水田活用直接支払交付金
金額 138,300円
府省 農林水産省
認定日 2018年03月22日
補助金等 水田活用直接支払交付金
金額 303,600円
府省 農林水産省
認定日 2017年12月14日
補助金等 米の直接支払い交付金
金額 409,500円
府省 農林水産省
認定日 2015年12月17日
補助金等 経営所得安定対策交付金
金額 491,000円
府省 農林水産省
認定日 2015年06月15日
補助金等 収入減少影響緩和対策交付金
金額 63,357円
府省 農林水産省
〔画像〕《農事組合法人妙楽ファーム》補助金交付情報:14件
デジタル庁(法人番号:8000012010038)
〒102-0094 東京都千代田区紀尾井町1-3
東京ガーデンテラス紀尾井町 19階、20階
経済産業省(法人番号:4000012090001)
〒100-8901 東京都千代田区霞が関1-3-1
◇◇◇◇◇◇◇◇◇◇◇◇◇◇◇◇◇◇◇◇◇◇◇◇◇








